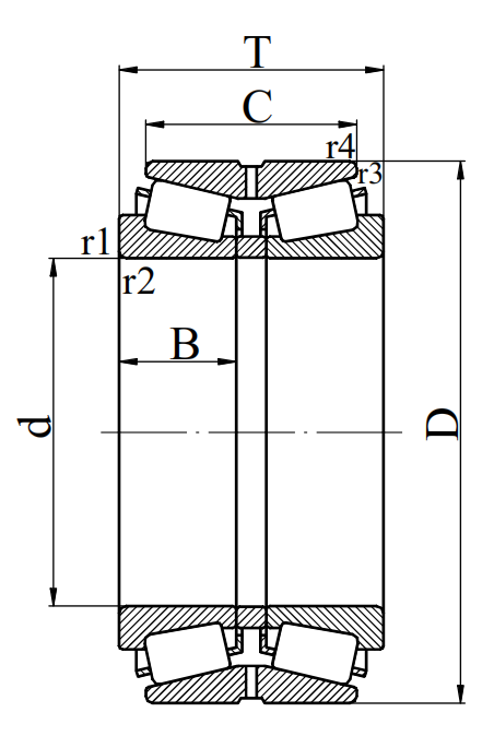
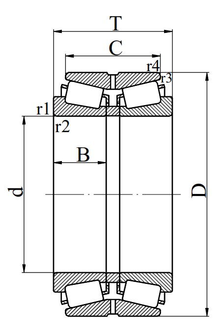
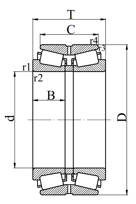
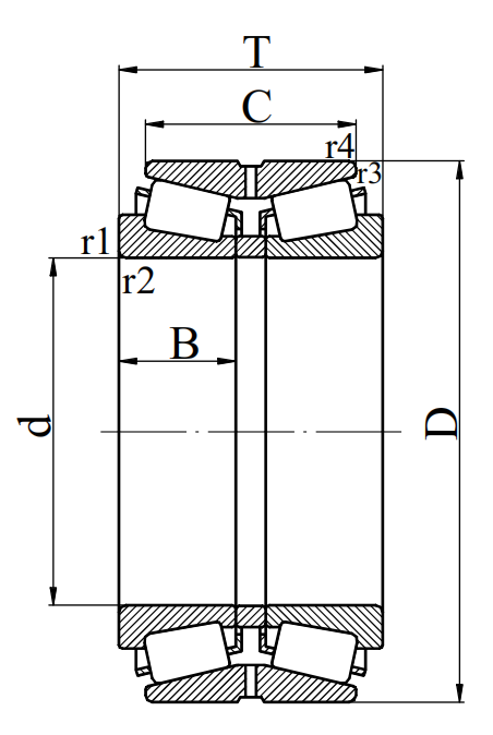
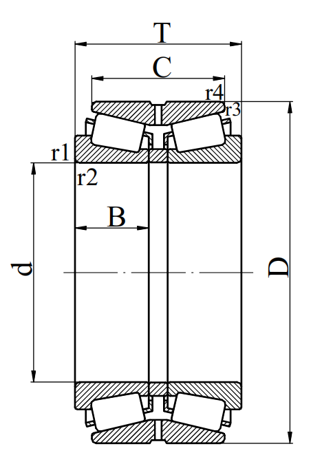
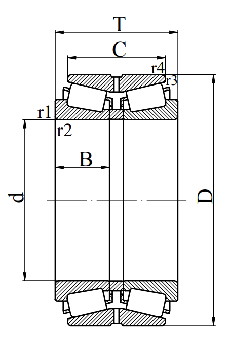
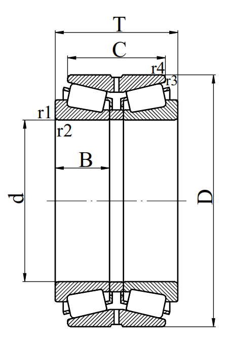
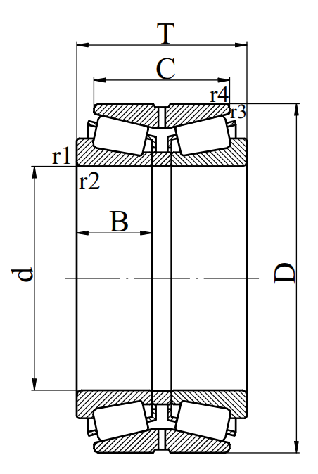
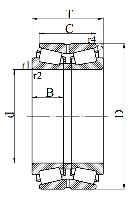
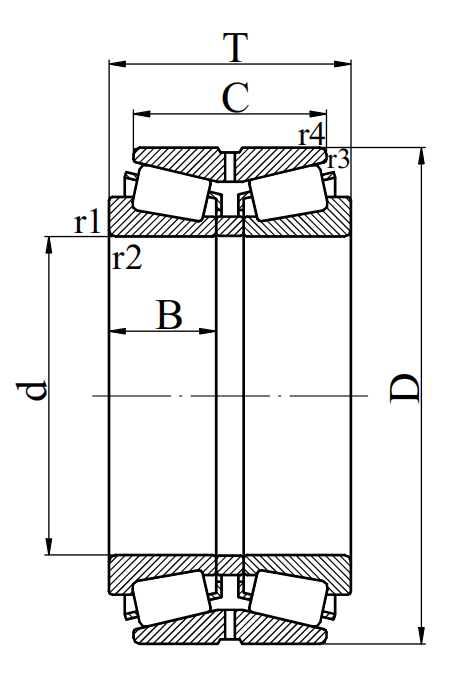
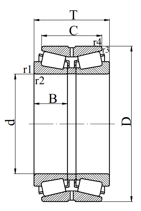
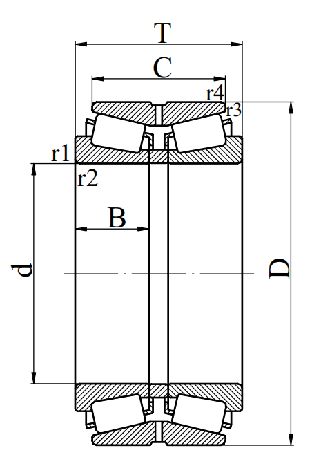
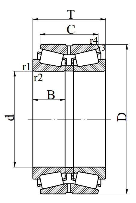
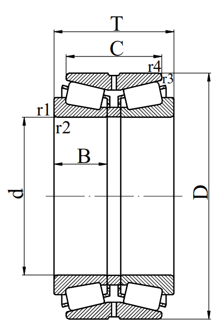
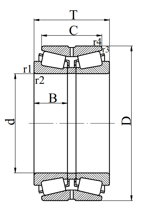
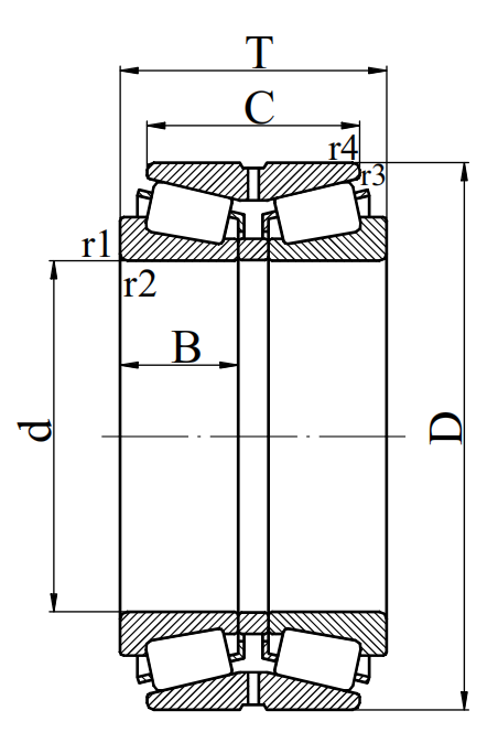
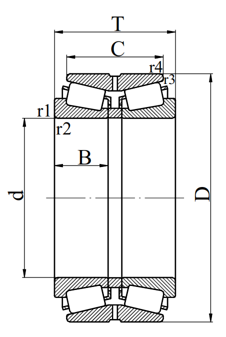
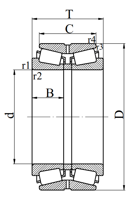
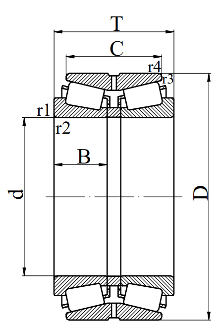
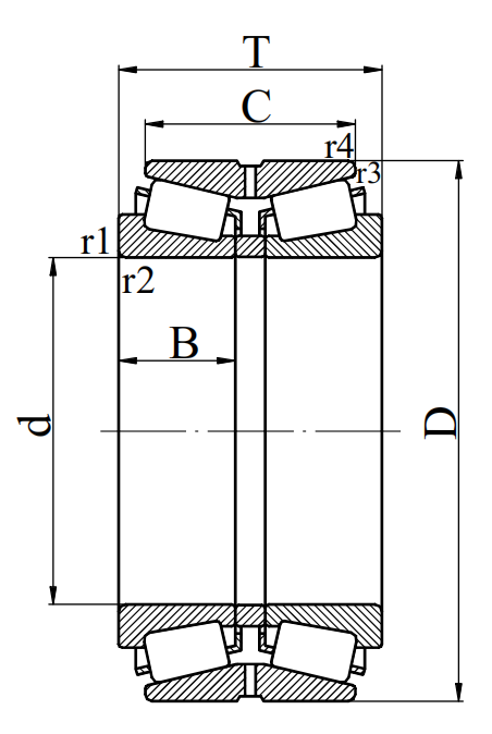
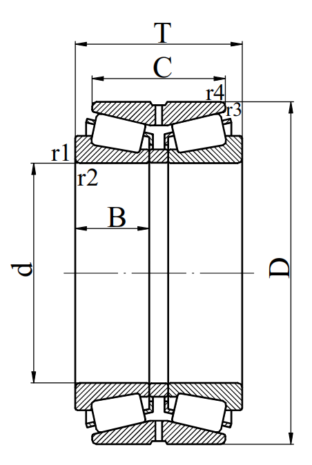
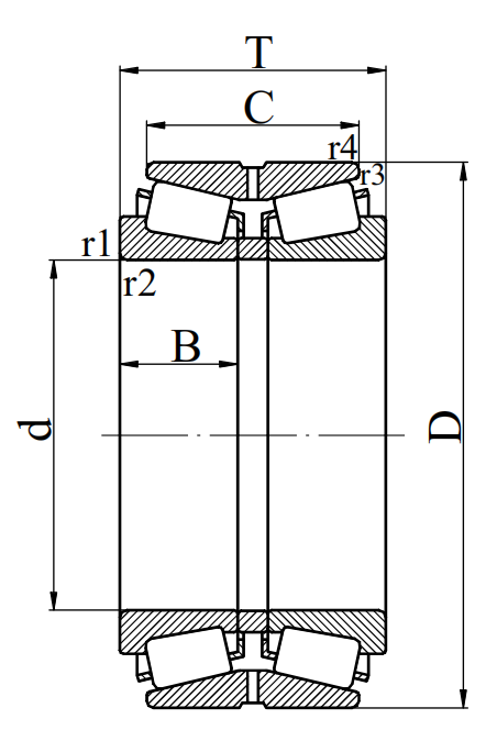
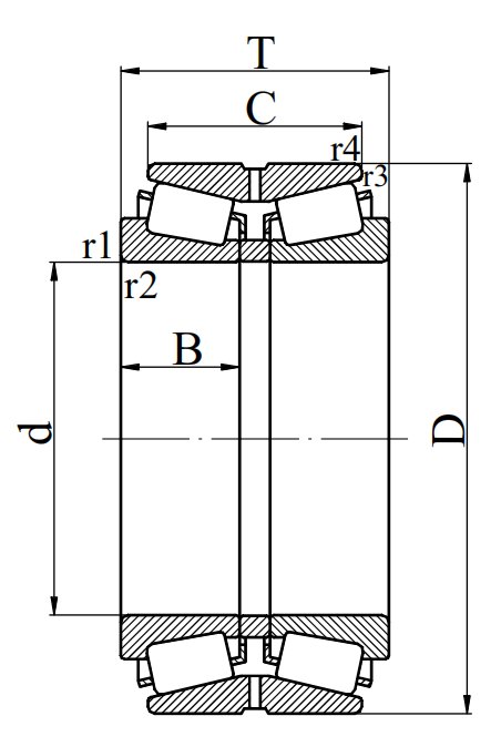
雙列圓錐滾子公制軸承,按接觸角的大小劃分有:小角(9°<a≤25°)和大錐角(>25°)之分。圓錐滾子軸承的軸向承載能力取決于接觸角a,既外圈的滾道角度,接觸角a越大,軸向承載能力越大。
咨詢熱線:13861477666

352220E

352122

352222E

352222X2

352124

352224E

352224X2

352926X2

352026X2

352126

352226E

352028X2

352128

352228E

352228X2

352930X2

352130

352230X2

352032X2

352132

352232E

350633

352934X2

352034X2

352134

352234E

352936X2

352036X2

352136

352236E

352938X2

352038X2

352138

352238E

352940X2

352040X2

352140

352240E

352944X2

352044X2

352144

352948X2

352048X2

352148

352952X2-1

352052X2

352152

352956X2

352056X2

352960X2-1

352060X2

351160

352964X2

352064X2

352968X2

351068

351168

352972X2

351072

351172

351976

351076

351176

351980

351080

351984

351084

351184

351988

351088

351992

351092

351996

351096

351196

3519/500

3510/500

3519/530

3519/560

3510/560

3519/600

3510/600

3519/630

3511/670

3519/710

3510/710

3519/750

3159/800

3519/850

3519/900

3519/950
| 查看 | 型號 | 外形尺寸 mm | 基本額定載荷KN | 計算參數 | 參考重量kg | 參考國外軸承代號 | |||||||||||||||
|---|---|---|---|---|---|---|---|---|---|---|---|---|---|---|---|---|---|---|---|---|---|
| d | D | B | T | C | H | Fw | Cr | Cor | e | Y1 | Y2 | Yo | 內圈 | 軸承 | SKF | FAG | NTN | NSK | TMKEN | ||
![]() |
352220E | 100 | 180 | 46 | 107 | 87 | 555 | 925 | 0.42 | 1.6 | 2.4 | 1.6 | 10.7 | ||||||||
![]() |
352122 | 110 | 180 | 42 | 95 | 76 | 422 | 840 | 0.25 | 2.7 | 4.0 | 2.6 | 10.2 | ||||||||
![]() |
352222E | 110 | 200 | 53 | 121 | 101 | 698 | 1210 | 0.42 | 1.6 | 2.4 | 1.6 | 15.5 | ||||||||
![]() |
352222X2 | 110 | 200 | 56.5 | 125 | 102 | 595 | 1120 | 0.39 | 1.7 | 2.6 | 1.7 | 16.4 | ||||||||
![]() |
352124 | 120 | 200 | 48 | 110 | 90 | 508 | 910 | 0.30 | 2.2 | 3.3 | 2.2 | 12.6 | ||||||||
![]() |
352224E | 120 | 215 | 58 | 132 | 109 | 775 | 1360 | 0.44 | 1.6 | 2.3 | 1.5 | 18.9 | ||||||||
![]() |
352224X2 | 120 | 215 | 60 | 132 | 106 | 698 | 1340 | 0.41 | 1.6 | 2.5 | 1.6 | 19.1 | ||||||||
![]() |
352926X2 | 130 | 180 | 30 | 70 | 50 | 258 | 565 | 0.27 | 2.5 | 3.7 | 2.4 | 4.88 | ||||||||
![]() |
352026X2 | 130 | 200 | 42.5 | 95 | 75 | 422 | 830 | 0.35 | 1.9 | 2.9 | 1.9 | 9.72 | ||||||||
![]() |
352126 | 130 | 210 | 48 | 110 | 90 | 540 | 1000 | 0.26 | 2.6 | 3.8 | 2.5 | 12.9 | ||||||||
![]() |
352226E | 130 | 230 | 64 | 117.5 | 895 | 1630 | 0.44 | 1.6 | 2.3 | 1.5 | ||||||||||
![]() |
352028X2 | 140 | 210 | 41.5 | 95 | 75 | 448 | 900 | 0.37 | 1.8 | 2.7 | 1.8 | 8.35 | ||||||||
![]() |
352128 | 140 | 225 | 50 | 115 | 90 | 560 | 1110 | 0.34 | 2.0 | 3.0 | 2.0 | 15.3 | ||||||||
![]() |
352228E | 140 | 250 | 68 | 153 | 125.5 | 1050 | 1840 | 0.44 | 1.6 | 2.3 | 1.5 | 30.1 | ||||||||
![]() |
352228X2 | 140 | 250 | 73 | 158 | 128 | 985 | 1840 | 0.33 | 2.1 | 3.1 | 2.0 | 30.6 | ||||||||
![]() |
352930X2 | 150 | 210 | 35 | 80 | 62 | 352 | 790 | 0.27 | 2.5 | 3.7 | 2.4 | 9.32 | ||||||||
![]() |
352130 | 150 | 250 | 60 | 138 | 112 | 778 | 1560 | 0.30 | 2.2 | 3.3 | 2.2 | 25.8 | ||||||||
![]() |
352230X2 | 150 | 270 | 80 | 172 | 138 | 1070 | 2180 | 0.39 | 1.7 | 2.6 | 1.7 | 38.9 | ||||||||
![]() |
352032X2 | 160 | 240 | 51 | 115 | 90 | 608 | 1260 | 0.37 | 1.8 | 2.7 | 1.8 | 16.5 | ||||||||
![]() |
352132 | 160 | 270 | 66 | 150 | 120 | 872 | 1720 | 0.36 | 1.9 | 2.8 | 1.8 | 28.2 | ||||||||
![]() |
352232E | 160 | 290 | 80 | 178 | 144 | 1390 | 2840 | 0.44 | 1.6 | 2.3 | 1.5 | 46.9 | ||||||||
![]() |
350633 | 165 | 290 | 70 | 150 | 125 | 1100 | 2300 | 0.37 | 1.8 | 2.7 | 1.8 | 41.1 | ||||||||
![]() |
352934X2 | 170 | 230 | 36 | 82 | 65 | 395 | 922 | 0.28 | 2.4 | 3.6 | 2.3 | 8.11 | ||||||||
![]() |
352034X2 | 170 | 260 | 54 | 120 | 95 | 672 | 1460 | 0.31 | 2.2 | 3.2 | 2.1 | 20.4 | ||||||||
![]() |
352134 | 170 | 280 | 66 | 150 | 120 | 962 | 2000 | 0.38 | 1.8 | 2.6 | 1.7 | 35.6 | ||||||||
![]() |
352234E | 170 | 310 | 86 | 192 | 152 | 1580 | 3200 | 0.44 | 1.6 | 2.3 | 1.5 | 58.2 | ||||||||
![]() |
352936X2 | 180 | 250 | 42.5 | 95 | 74 | 468 | 1080 | 0.37 | 1.8 | 2.7 | 1.8 | 13.2 | ||||||||
![]() |
352036X2 | 180 | 280 | 61 | 134 | 108 | 742 | 1540 | 0.28 | 2.4 | 3.6 | 2.4 | 28.5 | ||||||||
![]() |
352136 | 180 | 300 | 72 | 164 | 134 | 1100 | 2350 | 0.26 | 2.6 | 3.8 | 2.6 | 39.9 | ||||||||
![]() |
352236E | 180 | 320 | 86 | 192 | 152 | 1620 | 3350 | 0.45 | 1.5 | 2.2 | 1.5 | 63.8 | ||||||||
![]() |
352938X2 | 190 | 260 | 41.5 | 95 | 75 | 522 | 1270 | 0.38 | 1.8 | 2.6 | 1.7 | 13.3 | ||||||||
![]() |
352038X2 | 190 | 290 | 61 | 134 | 104 | 742 | 1540 | 0.45 | 1.5 | 2.2 | 1.5 | 28.8 | ||||||||
![]() |
352138 | 190 | 320 | 78 | 170 | 130 | 1160 | 2420 | 0.31 | 2.2 | 3.2 | 2.1 | 52.5 | ||||||||
![]() |
352238E | 190 | 340 | 92 | 204 | 160 | 1740 | 3350 | 0.44 | 1.6 | 2.3 | 1.5 | 69.8 | ||||||||
![]() |
352940X2 | 200 | 280 | 46.5 | 105 | 80 | 610 | 1520 | 0.39 | 1.8 | 2.6 | 1.7 | 18.1 | ||||||||
![]() |
352040X2 | 200 | 310 | 70 | 152 | 120 | 912 | 2140 | 0.39 | 1.7 | 2.6 | 1.7 | 39.4 | ||||||||
![]() |
352140 | 200 | 340 | 82 | 184 | 150 | 1450 | 2970 | 0.25 | 2.7 | 4.0 | 2.7 | 63.8 | ||||||||
![]() |
352240E | 200 | 360 | 98 | 218 | 174 | 2140 | 3950 | 0.41 | 1.7 | 2.5 | 1.6 | 93.3 | ||||||||
![]() |
352944X2 | 220 | 300 | 49 | 110 | 88 | 660 | 1580 | 0.31 | 2.2 | 3.2 | 2.1 | 21.7 | ||||||||
![]() |
352044X2 | 340 | 76 | 165 | 130 | 1240 | 2680 | 0.35 | 1.9 | 2.9 | 1.9 | 49.5 | |||||||||
![]() |
352144 | 370 | 88 | 195 | 150 | 1540 | 3240 | 0.37 | 1.8 | 2.7 | 1.8 | 76.3 | |||||||||
![]() |
352948X2 | 240 | 320 | 49 | 110 | 90 | 660 | 1580 | 0.32 | 2.1 | 3.1 | 2.1 | 22.2 | ||||||||
![]() |
352048X2 | 240 | 360 | 76 | 165 | 130 | 1240 | 2820 | 0.33 | 2.0 | 3.0 | 2.0 | 52.8 | ||||||||
![]() |
352148 | 240 | 400 | 95 | 210 | 163 | 1870 | 4050 | 0.31 | 2.2 | 3.2 | 2.1 | 98.1 | ||||||||
![]() |
352952X2-1 | 260 | 360 | 61 | 134 | 108 | 942 | 2490 | 0.37 | 1.8 | 2.7 | 1.8 | 37.3 | ||||||||
![]() |
352052X2 | 260 | 400 | 87 | 186 | 146 | 1570 | 3600 | 0.30 | 2.3 | 3.3 | 2.2 | 79.3 | ||||||||
![]() |
352152 | 260 | 440 | 106 | 225 | 180 | 2210 | 4720 | 0.24 | 2.8 | 4.2 | 2.8 | 124 | ||||||||
![]() |
352956X2 | 280 | 380 | 61 | 134 | 108 | 1080 | 2810 | 0.29 | 2.3 | 3.4 | 2.3 | 41.3 | ||||||||
![]() |
352056X2 | 280 | 420 | 85 | 186 | 146 | 1700 | 3880 | 0.37 | 1.8 | 2.7 | 1.8 | 81.5 | ||||||||
![]() |
352960X2-1 | 300 | 420 | 160 | 128 | 1360 | 3610 | 0.28 | 2.4 | 3.6 | 2.3 | 60.8 | |||||||||
![]() |
352060X2 | 300 | 460 | 97 | 210 | 165 | 1830 | 4390 | 0.31 | 2.2 | 3.2 | 2.1 | 117 | ||||||||
![]() |
351160 | 300 | 500 | 90 | 205 | 165 | 2110 | 4460 | 0.32 | 0.32 | 3.2 | 2.1 | 143 | ||||||||
![]() |
352964X2 | 320 | 440 | 72 | 160 | 128 | 1410 | 3830 | 0.30 | 2.3 | 3.3 | 2.2 | 67.6 | ||||||||
![]() |
352064X2 | 320 | 480 | 97 | 210 | 160 | 1830 | 4390 | 0.42 | 1.6 | 2.4 | 1.6 | 122 | ||||||||
![]() |
352968X2 | 340 | 460 | 72 | 160 | 128 | 1450 | 4050 | 0.31 | 2.2 | 3.2 | 2.1 | 71.5 | ||||||||
![]() |
351068 | 340 | 520 | 82 | 180 | 135 | 1870 | 4070 | 0.29 | 2.3 | 3.4 | 2.3 | 128 | ||||||||
![]() |
351168 | 580 | 106 | 242 | 170 | 2870 | 5970 | 0.42 | 1.6 | 2.4 | 1.6 | 235 | |||||||||
![]() |
352972X2 | 360 | 480 | 72 | 160 | 128 | 1490 | 4270 | 0.33 | 2.1 | 3.1 | 2.0 | 74.3 | ||||||||
![]() |
351072 | 360 | 540 | 82 | 185 | 140 | 2120 | 4910 | 0.30 | 2.3 | 3.3 | 2.2 | 132 | ||||||||
![]() |
351172 | 360 | 600 | 106 | 242 | 170 | 2950 | 6270 | 0.44 | 1.5 | 2.3 | 1.5 | 235 | ||||||||
![]() |
351976 | 380 | 520 | 65 | 145 | 105 | 1210 | 3250 | 0.43 | 1.6 | 2.3 | 1.6 | 80.3 | ||||||||
![]() |
351076 | 380 | 560 | 82 | 190 | 140 | 2150 | 5090 | 0.31 | 2.2 | 3.2 | 2.1 | 146 | ||||||||
![]() |
351176 | 380 | 620 | 106 | 242 | 170 | 3310 | 7430 | 0.46 | 1.5 | 3.2 | 1.4 | 264 | ||||||||
![]() |
351980 | 400 | 540 | 65 | 150 | 105 | 1210 | 3110 | 0.45 | 1.5 | 2.2 | 1.5 | 86.9 | ||||||||
![]() |
351080 | 400 | 600 | 90 | 206 | 150 | 2620 | 6380 | 0.40 | 1.7 | 2.5 | 1.7 | 180 | ||||||||
![]() |
351984 | 420 | 560 | 65 | 145 | 105 | 1450 | 3740 | 0.31 | 2.2 | 3.2 | 2.1 | 88.8 | ||||||||
![]() |
351084 | 420 | 620 | 90 | 206 | 150 | 2650 | 6600 | 0.41 | 1.6 | 2.5 | 1.6 | 196 | ||||||||
![]() |
351184 | 420 | 700 | 122 | 275 | 200 | 4270 | 8810 | 0.32 | 2.1 | 3.2 | 2.1 | 392 | ||||||||
![]() |
351988 | 440 | 600 | 74 | 170 | 125 | 1890 | 4860 | 0.39 | 1.8 | 2.6 | 1.7 | 114 | ||||||||
![]() |
351088 | 440 | 650 | 94 | 212 | 152 | 2750 | 7020 | 0.43 | 1.6 | 2.3 | 1.5 | 213 | ||||||||
![]() |
351992 | 460 | 620 | 74 | 174 | 130 | 1910 | 4990 | 0.40 | 1.7 | 2.5 | 1.7 | 128 | ||||||||
![]() |
351092 | 460 | 680 | 100 | 174 | 175 | 3320 | 8160 | 0.31 | 2.2 | 3.2 | 2.1 | 128 | ||||||||
![]() |
351996 | 480 | 650 | 78 | 180 | 130 | 1950 | 5270 | 0.42 | 1.6 | 2.0 | 1.6 | 133 | ||||||||
![]() |
351096 | 480 | 700 | 100 | 240 | 180 | 3330 | 8190 | 0.32 | 2.1 | 3.1 | 2.1 | 281 | ||||||||
![]() |
351196 | 480 | 790 | 136 | 310 | 224 | 5000 | 11990 | 0.41 | 1.6 | 2.5 | 1.6 | 561 | ||||||||
![]() |
3519/500 | 500 | 670 | 78 | 180 | 130 | 2150 | 6120 | 0.44 | 1.5 | 2.3 | 1.5 | 129 | ||||||||
![]() |
3510/500 | 500 | 720 | 100 | 236 | 180 | 3390 | 8450 | 0.33 | 2.0 | 3.0 | 2.0 | 289 | ||||||||
![]() |
3519/530 | 530 | 530 | 82 | 190 | 136 | 2390 | 6800 | 0.41 | 1.6 | 2.5 | 1.6 | 192 | ||||||||
![]() |
3519/560 | 560 | 750 | 85 | 213 | 156 | 2550 | 7060 | 0.44 | 1.5 | 2.3 | 1.5 | 235 | ||||||||
![]() |
3510/560 | 560 | 820 | 115 | 260 | 185 | 4340 | 10800 | 0.40 | 1.7 | 2.5 | 1.7 | 410 | ||||||||
![]() |
3519/600 | 600 | 800 | 90 | 205 | 156 | 3210 | 9460 | 0.33 | 2.1 | 3.1 | 2.0 | 265 | ||||||||
![]() |
3510/600 | 600 | 870 | 118 | 270 | 198 | 4880 | 12730 | 0.41 | 1.6 | 2.5 | 1.6 | 500 | ||||||||
![]() |
3519/630 | 630 | 850 | 100 | 242 | 182 | 3730 | 10390 | 0.40 | 1.7 | 2.5 | 1.7 | 368 | ||||||||
![]() |
3511/670 | 670 | 1090 | 185 | 410 | 295 | 9680 | 23200 | 0.32 | 2.1 | 3.2 | 2.1 | 1370 | ||||||||
![]() |
3519/710 | 710 | 950 | 106 | 240 | 175 | 4070 | 12400 | 0.49 | 1.5 | 2.2 | 1.4 | 444 | ||||||||
![]() |
3510/710 | 710 | 1030 | 140 | 315 | 220 | 6560 | 17930 | 0.43 | 1.6 | 2.3 | 1.5 | 810 | ||||||||
![]() |
3519/750 | 750 | 1000 | 112 | 264 | 194 | 5020 | 14480 | 0.40 | 1.7 | 2.5 | 1.6 | 499 | ||||||||
![]() |
3159/800 | 800 | 1060 | 115 | 270 | 204 | 5020 | 15000 | 0.35 | 1.9 | 2.9 | 1.9 | 604 | ||||||||
![]() |
3519/850 | 850 | 1120 | 118 | 268 | 188 | 5460 | 16860 | 0.46 | 1.5 | 2.2 | 636 | |||||||||
![]() |
3519/900 | 900 | 1180 | 122 | 275 | 205 | 5000 | 16200 | 0.39 | 1.7 | 2.6 | 1.7 | 730 | ||||||||
![]() |
3519/950 | 950 | 1250 | 132 | 300 | 220 | 6790 | 21100 | 0.33 | 2.0 | 3.0 | 2.0 | 910 | ||||||||